Full Surface Mount Continuous Hinges Pemko
Stock Options - To purchase stocked item, available to ship within 1 business day, see our PemkoHinge™ #FS or our PemkoHinge™ #FSHD1 Full Surface Continuous Hinge - Quick Ship.
Full Surface hinges are designed for retrofit applications or for doors and door frames that cannot be mortised. One leaf of the hinge is applied to the exposed face of the frame while the other is applied to the exposed face of the door.
About Continuous Hinges:
- Continuous Hinges are tested and certified with the best warranty in the industry
- There are no restrictions on frame gauge and wall conditions.
- There are no restriction on cutting hinges in field.
- There are no special cutting instructions or voided warranties.
- There are no special door and frame preps up to and including 90 minute doors.
Attributes:
- Efficiency: With a continuous hinge, typical alignment problems (such as door sag and binding) are eliminated.
- Uniformity: The continuous hinge distributes load stress uniformly along the full length of the door and frame.
- Durability: The gear design of the continuous hinge ensures symmetrical operation of each leaf which extends the life of the hinge and door.
- Low Operating Force: 1⁄2 lb. or less operating force required to operate most doors, regardless of size.
- Code Compliance: Low operating force feature makes continuous hinges ideal for doors used by the physically challenged.
- Steel Frame Compatibility: The continuous hinge, when installed on standard steel doors and frames, requires no additional reinforcement. However, hinge preps must have fillers installed for proper operation.
- Security: A high degree of security can be achieved for exterior openings or restricted spaces by using a continuous hinge. With the geared construction and the full-length channel cap, the common gap between the door and frame is sealed, which provides security against prying.
- Safety: In addition, the continuous full-height hinge cap protects against pinching fingers in doors in public areas, particularly those where children are present.
- Privacy: Sight proof design of the continuous hinge provides privacy for lavatories, executive offices, or file rooms.
Design Features:
- PemkoHinge™ has increased critical stress points of the hinge leaf extrusions providing additional strengths and rigidity to the completed product.
- PemkoHinge™ bearing design eliminates premature wear, guarantees proper alignment, and requires fewer bearings to carry more weight. The bearing is produced for the manufacturer using a chemical composition and injection process that provides a stronger, more accurately formed bearing.
- PemkoHinge™ is designed with inter-meshing gear segments in the hinge which provide 50% more bearing surface resulting in less wear.
- PemkoHinge™ goes through the anodizing process after completing all machining. This means the machined aluminum surfaces that are in direct contact with the bearing have a smoother, harder surface, thereby reducing wear.
- PemkoHinge™ maintains uniform bearing spacing for the full length of the hinge even when lengths exceed 10'.
- PemkoHinge™ uses #12-24 size fasteners instead of #10. (#12 Tek fasteners available upon request through our office).
- PemkoHinge™ commercial models are ideal for use on lead lined doors (i.e. hospital X-ray rooms), without requiring special screw locations.
Additional Options Available - See Options Tab for more details:
- Hospital Tip
- FirePins for Fire Rated Assemblies
Stock Sizes :Stock sizes include 83", 85" and 95"- these sizes will not be charged a cutting fee. If required select from options above.
Custom Sizes: Can be purchased in custom sizes up to 104" through our website. Sizes up to 120" can be purchased through our office. A minimal cutting fee will be charged, included in price above. Please contact us or call us at 845-388-1300 for pricing and shipping information.
Fasteners: Supplied with standard fastener kit. Replacement Kit or individual screws can be purchased through our office. TORX / TEK screws can also be purchased for installation.
Please note, images are for illustrative purposes only. They are not actual photos. Therefore, actual colors may vary slightly and size may be enlarged to show detail. See product specs for exact measurements.
Heavy Duty Grade 1 Hinges are GUARANTEED FOR LIFE OF THE OPENING against defects in material and workmanship.
Standard Duty and Heavy Duty Grade 3 Hinges are guaranteed for 10 years.
Click to view our Full Warranty Policy.
For a similar product, see our Full Surface Continuous Hinge with Center Pivot.
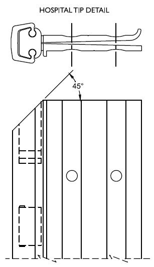
Hospital Tip Modification
A special modification is available for certain hinges which provides an extra bearing at the top of the gear cap, leaving no opening. A 45°angled cut on the gear cap and leaf covers provides a safe environment for hospitals and correctional facilities.
Fire Pins for Fire Rated Assemblies
- FirePins™ are required to achieve 3-hour fire rating
- Although PemkoHinge™ Continuous Hinges carry UL Fire Ratings unequaled in the industry, some applications may require the use of FirePins™
- FirePin™ applications fall within the UL guidelines for retro-fitting assemblies in the field. Expensive shop modifications and door/frame reinforcements are not required
- FirePins™ also add extra security to a door assembly
FirePin Locations
- The locations (illustrated below) indicate where holes should be drilled on the hinge edge of the door
- These locations are appropriate for all hinge models (Full-Mortise, Full-Surface, and Half-Surface)

Click to View Ratings Explained
Cycle Requirements - Per BHMA Standard ANSI/BHMA A156.26-2006:
Standard Duty Hinges conform to Grade 3-150 and Grade 3-300
Heavy Duty Grade 3 Hinges conform to Grade 3-150, Grade 3-300, and Grade 3-600
Heavy Duty Grade 1 Hinges conform to Grade 2-150, Grade 1-300, and Grade 1-600
UL Fire Labeled:
Hinges has been Tested and Certified by Underwriter Laboratories Inc. to standards UL10B, UL10C and UBC7.2 (Positive Pressure) for up to and including a 3-Hour Fire Listing fall all 4'0" x 10'0" and 8'0" x 10'0" door and frame assemblies. Fire listing certifications apply to all approved hollow metal and wood door assemblies in drywall or masonry wall construction.
Source: https://www.tmhardware.com/PemkoHinge-TM-Full-Surface-Continuous-Hinge.html